提供專業控制閥解決方案! 銷售熱線:021-5186 3046
上海川滬閥門有限公司
ShangHai Chuanhu Valve CO.,LTD
我們做的不僅是產品還是解決方案
川滬閥門品牌:電動球閥、電動蝶閥、氣動球閥、氣動蝶閥、電動調節閥、氣動調節閥
自力式調節閥、快速切斷閥、低溫閥門、耐腐蝕閥門、衛生級閥門、截止閥、閘閥
電動執行器、氣動執行器
新聞資訊/NEWS
自力式壓差調節閥、流量調節閥和溫度調節閥工作原理
發表時間:2022-5-20, 編寫人:上海川滬閥門有限公司
自力式控制閥又稱直接作用控制閥,是一大類不需要額外能源驅動的控制閥。它是一類把測量、控制和執行功能合為一體,利用被控對象本身能量帶動其動作的控制閥。英文為self-operated regulator,因此,一般稱為自力式調節閥。以下介紹三軸常用的 自力式壓差調節閥、自力式流量調節閥和自力式溫度調節閥。
自力式壓差調節閥
自力式壓差調節閥原理圖
圖1是自力式壓差調節閥的原理圖。它由兩個氣動薄膜執行機構串聯連接,分別引入閥門前后流體的壓力。產生的兩個推力之差和由設定彈簧產生的力及控制閥兩端壓力降產生的力相平衡。調節設定彈簧的圈數可改變其剛度,從而改變其壓差的設定值。當取壓點的信號來自同一管道上安裝的孔板兩側時,可用于控制流量。
自力式流量調節閥
自力式流量調節閥原理圖
圖2是自力式流量調節閥的原理圖。與帶指揮器的自力式壓力調節閥類似,它采用指揮器,但指揮器內的膜片經杠桿直接與測量流量的靶板連接,用于將流量信號轉換為推力。根據流體力學原理,所產生的推力與流體密度、黏度和靶板幾何形狀等有關。當流體特性確定,靶板幾何形狀確定后,其推力與靶板面積成正比,與流體的流量平方成正比。
當流量增加時,作用在靶板的推力增加,經杠桿傳遞,使指揮器內膜片受力增加,帶動擋板,靠近噴嘴,流體經過濾器引入指揮器的壓力因擋板靠近噴嘴,使其輸出壓力下降,即到氣動薄膜執行機構膜室的壓力下降,閥桿上移,反體閥芯上移使流通面積減小。直到作用到指揮器的推力與指揮器彈簧設定的力平衡。針閥用于調整放大倍數。
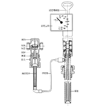
自力式溫度調節閥
自力式溫度調節閥原理圖
自力式溫度控制閥是用溫包檢測溫度信號,轉換為相應壓力變化。并將該壓力引入氣動活塞執行機構的膜室。圖3是自力式溫度調節閥結構圖。
設定調整紐用于設置溫度。當被測溫度改變時,溫包內的液體膨脹,使其相應的壓力變化,該壓力被引到波紋管連接的活塞操作元件,使操作元件帶動閥桿移動,并使閥芯位置改變,從而調節流通面積。根據選用的正體閥或反體閥的不同,可用于溫度升高時關小或開大閥門。
溫包內的壓力間接反映溫度,因此,可用其壓力信號顯示其溫度值。
上海川滬閥門生產的自力式壓差調節閥、自力式流量調節閥和自力式溫度調節閥廣泛應用于蒸汽、水、壓縮氣體和油品等場合,用于實現對閥后的壓力調整、流量調整或溫度調整。在化工、工業用水、生活用水、浴池、天然氣等場合中得到廣泛的認可。

自力式調節閥
